Loading...
Error

С.А. Ребров - Троллейбусы Тр-8 и Тр-9 [техническое руководство, 1963, DjVu, PDF]

Ответить на тему

 | 

 
Автор Сообщение

Steel_Cat

Троллейбусы Тр-8 и Тр-9

Год выпуска: 1963
Автор: С.А. Ребров
Наличие иллюстраций: Ч/б иллюстрации
Жанр: техническое руководство
Издательство: Изд-во Мин. ком. хоз. РСФСР
Формат: DjVu, PDF
Качество: Сканированные страницы + OCR + оглавление
Количество страниц: 144
Сканировал: The Stainless Steel Cat
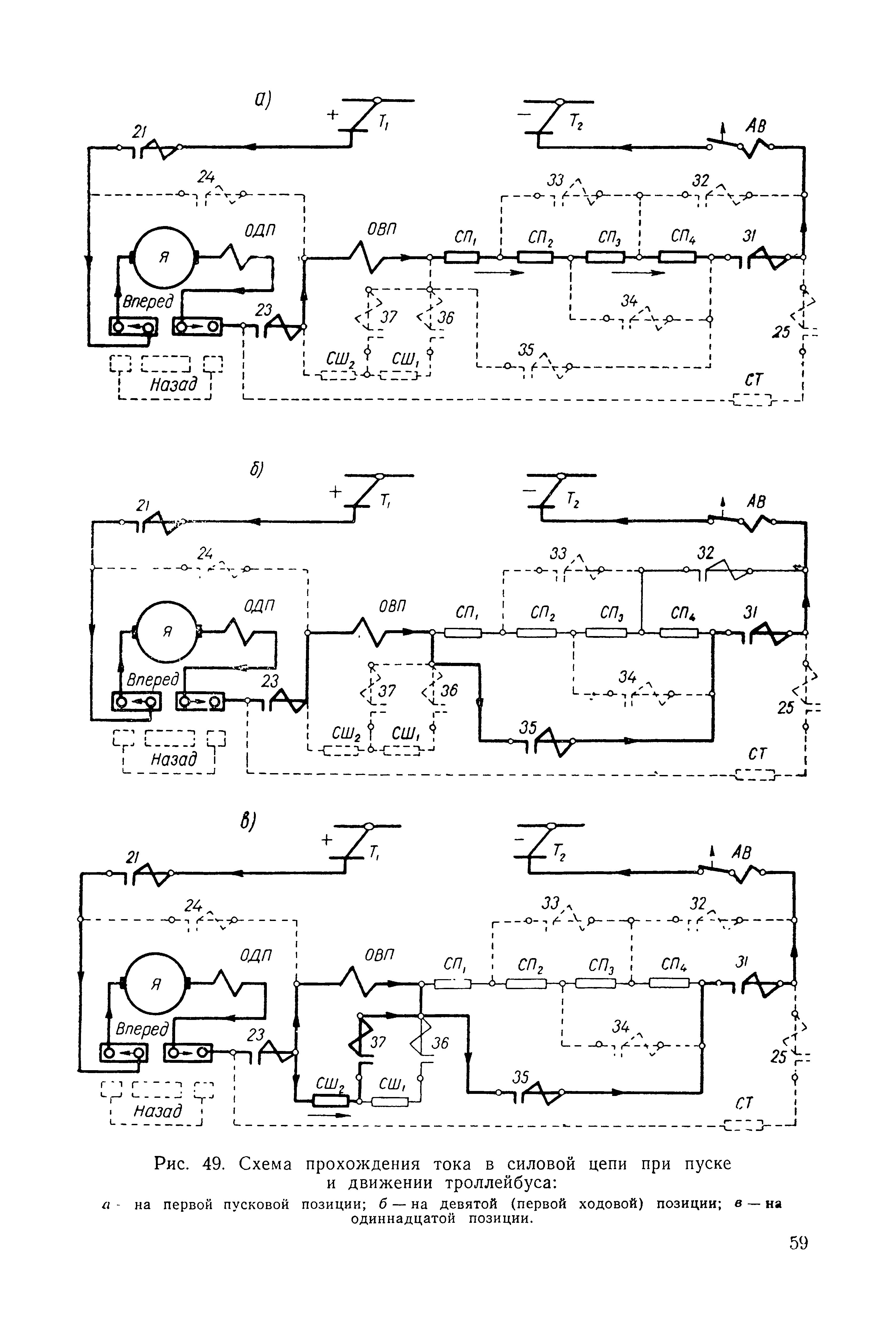
Описание: В книге описано устройство чехословацких троллейбусов Тр-8 и Тр-9: механическая часть, пневматическое и электрическое оборудование, рассмотрен принцип действия и устройство тягового электродвигателя, схем силовой цепи и цепи управления, а также основной аппаратуры управления и защиты. Кроме того, приведены основные положения технической эксплуатации.
Книга рассчитана на инженерно-технических работников, водителей троллейбусов и может быть полезна для линейных работников и обслуживающего персонала троллейбусных хозяйств.

Может представлять интерес для любителей истории отечественного городского электротранспорта.
Download
Для скачивания .torrent файлов необходима регистрация
Сайт не распространяет и не хранит электронные версии произведений, а лишь предоставляет доступ к создаваемому пользователями каталогу ссылок на торрент-файлы, которые содержат только списки хеш-сумм
Показать сообщения:    
Ответить на тему